弹性座封闸阀
- 销售:
- 销售:
- 传真:
详情介绍
- 产品介绍
- 服务承诺
- 订货流程
弹性座封闸阀也称软密封闸阀,弹性座封闸阀采用无凹腔结构,阀体阀盖内外表面喷涂环氧树脂,闸板表面包覆橡胶,这样从根本上杜绝了腐蚀发生的可能性,阀杆密封处舍弃填料而采用“O”形密封圈,使得蜜蜂更加可靠。根据需要,本闸阀可以采用操作杆、手轮、电动及气动等方式操作。
结构特点
1.整体阀盖暗杆设计,结构紧凑;阀杆螺母与闸板两体结构,无卡阻现象发生;直通道,无泄留凹腔;阀杆密封采用“O”形密封圈。
2.有优良的防腐性能,壳体内,外表面喷涂环氧树脂,需要时内表面衬搪瓷;连接螺栓采用内六角螺栓,顶部胶封。
3.可靠的卫生性环氧树脂符合卫生标准GB/T17219-1998,闸板整体包覆符合卫生检验的橡胶;阀杆、阀杆螺母等零件采用不受水腐蚀的不锈钢或青铜等到材料。
适用饮用水、给排水、污水处理、天然气与煤气、工业以及食品等行业。

弹性座封闸阀 主要性能参数
压力等级 | 1.0MPa、1.6MPa、2.5MPa |
阀体耐压 | 1.5MPa、2.4MPa、3.75MPa |
密封试验 | 1.1MPa、1.76MPa、2.75MPa |
工作温度 | 0~80℃ |
适用介质 | 水、油、蒸气等 |

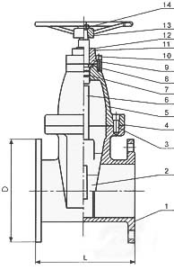
弹性座封闸阀 主要零件材料
序号 | 名称 | 材料 | 序号 | 名称 | 材料 |
1 | 阀体 | 球墨铸铁 | 8 | 止推垫 | 锡青铜 |
2 | 闸板 | 球墨铸铁外覆EPDM | 9 | 轴套 | 锡青铜 |
3 | 螺栓 | 镀锌 | 10 | 螺栓 | 镀锌 |
4 | 密封圈 | NBR | 11 | 轴盖 | 球墨铸铁 |
5 | 阀盖 | 球墨铸铁 | 12 | 防尘罩 | NBR |
6 | 阀杆 | 不锈钢 | 13 | 手轮 | 铸铁 |
7 | “O”形密封圈 | NBR | 14 | 紧固螺母 | 镀锌 |

弹性座封闸阀 主要外形尺寸
型号 | 公称口径DNmm | L | D1 | D | Z-Φd | H | ||
1.0MPa | 1.6MPa | 1.0MPa | 1.6MPa | |||||
RVC(H)X | 50 | 180 | 125 | 165 | 4-Φ18 | 268 | ||
65 | 190 | 145 | 185 | 4-Φ18 | 296 | |||
80 | 240 | 160 | 200 | 8-Φ18 | 340 | |||
100 | 250 | 180 | 235 | 8-Φ18 | 367 | |||
125 | 254 | 210 | 250 | 8-Φ18 | 424 | |||
150 | 280 | 240 | 290 | 8-Φ23 | 515 | |||
200 | 300 | 295 | 340 | 8-23 | 12-23 | 550 | ||
250 | 380 | 350 | 355 | 410 | 12-23 | 12-25 | 685 | |
300 | 400 | 400 | 410 | 460 | 12-23 | 12-25 | 760 | |
350 | 430 | 460 | 470 | 520 | 16-23 | 16-25 | 845 | |
400 | 406 | 515 | 525 | 580 | 16-26 | 16-30 | 945 | |
450 | 432 | 565 | 585 | 640 | 20-26 | 20-30 | 1020 | |
500 | 457 | 620 | 650 | 715 | 20-26 | 20-34 | 1140 | |
600 | 508 | 725 | 770 | 840 | 20-30 | 20-36 | 1320 | |
RVXX表示明杆式闸阀
RVXP表示附省力装置
RRXX表示明杆式闸阀
RRHX表示明杆式附手轮
RREX表示明杆式附电动操作装置
RVCX表示非明杆式附传动帽
RVHX表示非明杆式附手轮
RVHS表示非明杆式信号显示器
RVEX表示非明杆式附电动操作装置
RVCH表示非明杆式附传动帽卧式操作装置
RVHH表示非明杆式附手轮卧式操作装置
良好的品质、优良的服务 开云官方网站·开云登陆入口-开云(中国)为你创造更多价值!
“开云官方网站·开云登陆入口-开云(中国)”的期望,不断提升服务质量,精益求精,“真诚的服务”是“开云官方网站·开云登陆入口-开云(中国)”永恒的主题。“开云官方网站·开云登陆入口-开云(中国)”严格按照IS09001-2000 质量体系认证要求,质量严格把关, 责任到人,确保生产、销售、服务的健康运行。加强与用户沟通,竭诚为广大客户提供优良产品,至善至美服务。特此我厂做出以下承诺:
产品标准:
产品严格按照中国GB、HG 标准和美国API等标准设计、制造、验收。密封面硬度达到国家规定要求,宽度超过国家标准。
售前服务:
产品介绍,技术交流,非标产品设计,疑难解答。
售中服务:
守信合同,保证及时供货,随时保持与客户联系。 对特殊或复制的产品,我厂安排技术人员对用户进行产品使用、故障排除
售后服务:
1、“开云官方网站·开云登陆入口-开云(中国)”牌产品品质期为自出厂起12个月,实行“三包”服务(包退、包换、保修)。
2、产品在使用中我厂定期组织技术、质检人员进行访问,征询用户对产品质量、 使用状况、改进意见等方面的反馈, 以便进一步提高产品质量。
3、对用户投诉质量问题,快速作出反应,售后服务人员在24-36小时(省外48小时)赶赴现场。
4、对售后服务,要求用户填写服务后的质量反馈信息表,并作出鉴定意见,以便提高开云官方网站·开云登陆入口-开云(中国)的服务质量。
1、客户如对产品有特殊要求,须在订货合同中提供以下说明:
a、结构长度;
b、连接形式;
c、公称直径、全通径、缩径、管道尺寸;
d、运行介质及温度、压力范围;
e、试验、检验标准及其他要求
2、本厂可根据客户特定要求配置各类驱动装置。
3、如由客户提供确定的阀门类型和型号时,客户应正确说明其型号的含义和要求,在供需双方理解一致的条件下签订合同。
4、期货、订货的客户请先来电函详细告诉所需的阀门型号、规格、数量以及交货时间、地点,并按总的30%预定金或全额货款及时汇入我厂帐户,其余货款待发货前汇入,以便及时安排发货。
订单流程:
1、客户采购清单传真至,或来电咨询
2、收到客户采购清单,为客户提供阀门型号选型与报价(价格清单)。
3、具体商定:交货期、特殊要求等事宜。
订货须知:
1、客户如对产品有特殊要求,须在订货合同中提供以下说明:
|
|||||
|
|||||
2、本厂可根据客户特定要求配置各类驱动装置。
|
|||||
3、如由客户提供确定的阀门类型和型号时,客户应正确说明其型号的含义和要求,在供需双方理解一致的条件下签订合同。
|
|||||
4、期货、订货的客户请先来电函详细告诉所需的阀门型号、规格、数量以及交货时间、地点,并按总的30%预定金或全额货款及时汇入我厂账户, 其余货款待发货前汇入,以便及时安排发货。
|
售中服务:
守信合同,保证及时供货,随时保持与客户联系。
对特殊或复制的产品,我厂安排技术人员对用户进行产品使用、故障排除
售后服务:
1、“开云官方网站·开云登陆入口-开云(中国)”产品品质期为自出厂起12个月,实行“三包”服务(包退、包换、保修)。
2、产品在使用中我厂定期组织技术、质检人员进行访问,征询用户对产品质量、使用状况、改进意见等方面的反馈,
以便进一步提高产品质量。
3、对用户投诉质量问题,快速作出反应,售后服务人员在24-36小时(省外48小时)赶赴现场。
4、对售后服务,要求用户填写服务后的质量反馈信息表,并作出鉴定意见,以便提高“开云官方网站·开云登陆入口-开云(中国)”的服务质量。
声明 |
|